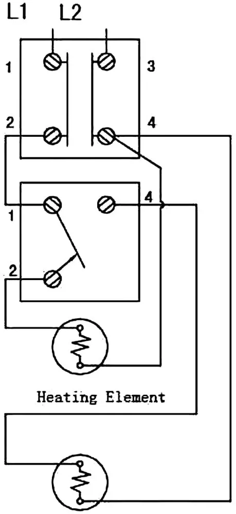
THERMOSTAT FOR DOUBLE ELEMENT TANKS ELECTRIC WATER HEATER

$ 9.5

MPN: 4090 / 59T Compatible Model: 4090/59T GENUINE BRAND NAME: ZERO SHIPPING IS FREE TO U S A: BY FIRST CLASS MAIL INSTALLATION:THERMOSTAT: WITH ECO RESET FOR DOUBL ELEMENT WATER HEATER THIS THERMOSTAT IS:: FOR DOUBLE ELEMENT ELECTRIC WATER HEATER Model: KST203 Type: Water Heater Element Voltage: 120 V / 480 VAC Brand: ZERO

Description

KST203 Upper Element Thermostat for Dual Element Heaters, non-simultaneous, Therm-O-Disk Type Interchangeable with APCOM type, Fits most Brands with Double Heating Elements Tank, UL Listed Single throw, 120/480 VAC,for single element tanks Energy saving range setting Built in safety switch to prevent overheating Cross-reference:59T SPST+66T All thermostats are adjustable,UL certification